INTERSTELLAR
Home
Feedback
About
Try one of these patents:
Michael Jackson’s patent
5,255,452
Apple iPhone slide to unlock
2009/0241072
Elizabeth Holmes’s Theranos patent
14/446,080
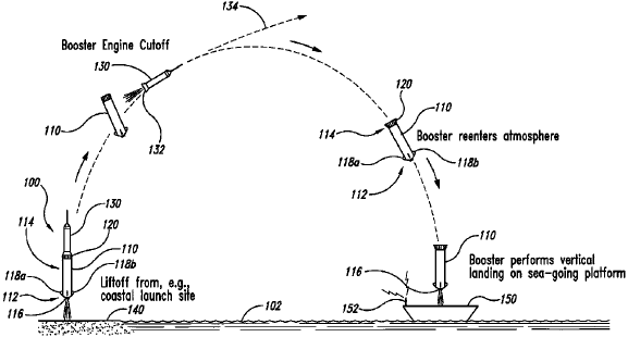
Jeff Bezos’s rocket landing platform
PCT/US2010/038553
Star Wars BB-8 toy
EP 15 83 18 82
QR code patent
JP 2938338